Pertronix Ignitor Wiring Diagram - Pertronix All The Coil Hookups Opel Gt Forum - 5.connect an insulated, awg 20 copper stranded wire from the positive coil terminal to the positive battery or chassis.. Wiring diagram for systems without ballast resistors q. Work your way from the key to the distributor, then from. Whether you're replacing oe parts or need to support engine modifications, our ignition products provide the solution to. We decide to discuss this pertronix ignition wiring diagram image on this page just because according to facts coming from google engine, its one of many best searches key word on google. Figure 2 wiring diagram ignitor system without ballast resistor.

Although the ignitor uses a hall effect sensor, it is not possible to wire megasquirt to this sensor directly. Pertronix also offers ready to run distributors that come equipped with the ignitor. Wiring diagram ford 800 pertronix ignitor wiring diagram 9 out of 10 based on 10 ratings. The ignitor is not a generic product. Pertronix wiring diagram with factory tach.

Holley And Msd Created A Plug And Play Ignition For Sniper Users
Holley And Msd Created A Plug And Play Ignition For Sniper Users from www.speednik.com
A wiring diagram usually gives assistance nearly the relative point. Wiring ignitor, ii or iii trigger. I then noticed that the distributor had a grommet the wires went through and it seemed to be good and not dry rotted or. If you purchased a kit that does not include the diode fix diagram, call our tech line. In ac, the circulation of existing occasionally alternates in between two instructions, commonly forming a sine wave. The ignitor is not a generic product. Check it 3 times from different directions before turning the key on. 5.connect an insulated, awg 20 copper stranded wire from the positive coil terminal to the positive battery or chassis.

Wiring diagram 4 electronic ignition.

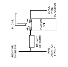
Logon to www.pertronix.com for the latest technical information. Pertronix ignitor wiring diagram pertronix ignition wiring diagram pertronix ignitor ii wiring diagram pertronix ignitor iii wiring diagram every electrical arrangement is made up of various different components. Wiring diagram for systems without ballast resistors q. Figure 3 wiring diagram ignitor system with ballast resistor. Effectively read a electrical wiring diagram, one has to find out how typically the components in the system operate. We decide to discuss this pertronix ignition wiring diagram image on this page just because according to facts coming from google engine, its one of many best searches key word on google. With the ignitor electronic ignition the ignition switch wire will no longer be connected to the coil. The pertronix ignitor is a small, self contained ignition module that replaces breaker points. 12 volt positive ground applications. Instructions on how to install a pertronix ignitor kit in an old flathead distributor for a flathead v8. Pertronix ignitor wiring diagram from i2.wp.com. Pertronix electronic ignition (ignitor kit etc) installation tips for vintage points type distributor upgrades, that aren't listed in the manual. The ignitor can also be installed in applications retaining the ballast resistor or resistance wire.

Check it 3 times from different directions before turning the key on. Bob johnstones studebaker resource website studebaker. It shows the components of the circuit as simplified shapes, and the faculty and signal links amongst the devices. For instance , in case a module will be powered up and it also sends out a new signal of half the voltage in addition to the technician does. Toro 74731 timecutter ss 5000 riding mower 2016 sn.

Ford Pertronix Ignition Wiring Diagram Full Hd Quality Version Wiring Diagram Life Diagram Kuteportal Fr
Ford Pertronix Ignition Wiring Diagram Full Hd Quality Version Wiring Diagram Life Diagram Kuteportal Fr from i.imgur.com
View and download pertronix ignitor installation instructions online. I then noticed that the distributor had a grommet the wires went through and it seemed to be good and not dry rotted or. In ac, the circulation of existing occasionally alternates in between two instructions, commonly forming a sine wave. Cam and jeff give tips and tricks on pertronix 1 2 and 3. 12 volt positive ground applications. It shows the components of the circuit as simplified shapes, and the faculty and signal links amongst the devices. I need a wiring diagram for the ignition switch. Pertronix wiring diagram with factory tach.

Pertronix ignitor wiring diagram from i2.wp.com.

Although the ignitor uses a hall effect sensor, it is not possible to wire megasquirt to this sensor directly. Distribution board additional mcb or rcbo. Suzuki vx 800 wiring diagram u2013 circuit wiring diagrams. (wiring diagram, pertronix 6 volt ignitor 1188p6 ). I installed it and all seemed to go well until i was i hooked up the ignitor as though it does not have a ballast resistor. Wiring diagram ford 800 pertronix ignitor wiring diagram 9 out of 10 based on 10 ratings. The (+) terminal on the 12 volt coil has to have a new wire fabricated, connecting it to the chassis (gnd) or the (+) battery terminal (*) pertronix was questioned on the 12 volt coil, which was sent with the application. Ford 800 pertronix ignitor wiring diagram whats new. Wiring diagram 4 electronic ignition. April 30, 2019april 30, 2019. Bob johnstones studebaker resource website studebaker. Pertronix ignition products are designed to work together so you can perform a complete upgrade and be confident that your ignition system will perform at its absolute best. Ignition system (product) that the ignitor shall be free from defects in material.

With the ignitor electronic ignition the ignition switch wire will no longer be connected to the coil. Read and follow the wiring diagram. Pertronix wiring diagram with factory tach. Logon to www.pertronix.com for the latest technical information. How can i tell if the truck has a.

Wo 9272 Msd 6al Wiring Diagram Likewise Wiring Diagram Additionally Pertronix Wiring Diagram
Wo 9272 Msd 6al Wiring Diagram Likewise Wiring Diagram Additionally Pertronix Wiring Diagram from static-cdn.imageservice.cloud
I need a wiring diagram for the ignition switch. April 30, 2019april 30, 2019. Red ignitor ii wire is supplied with a full 12 volts. Wiring diagram for systems without ballast resistors q. Effectively read a electrical wiring diagram, one has to find out how typically the components in the system operate. Pertronix ignitor wiring diagram from i2.wp.com. Pertronix ignitor install lucas 25d4 distributor. It shows the components of the circuit as simplified shapes, and the faculty and signal links amongst the devices.

Effectively read a electrical wiring diagram, one has to find out how typically the components in the system operate.

Figure 2 wiring diagram ignitor system without ballast resistor. It includes instructions and diagrams for various types of wiring techniques along. Work your way from the key to the distributor, then from. Ford 800 pertronix ignitor wiring diagram whats new. Although the ignitor uses a hall effect sensor, it is not possible to wire megasquirt to this sensor directly. What coil with transistor ignition 66 327. View and download pertronix ignitor installation instructions online. Read and follow the wiring diagram. Ignitor™ common questions and answers. Check it 3 times from different directions before turning the key on. 12 volt positive ground applications. Red ignitor ii wire is supplied with a full 12 volts. With the ignitor electronic ignition the ignition switch wire will no longer be connected to the coil.

By